据台湾媒体12月4日消息,今天下午1点22分许,知名作家琼瑶在家自杀。救护人员到场时,发现已无呼吸心跳,享年86岁。据此前媒体报道,琼瑶产业是家族企业,除了丈夫平鑫涛创办的皇冠出版集团,她旗下还有三个影视公司,可人公司属于琼瑶,怡人公司和仲杰公司的总经理是琼瑶的媳妇何秀琼,儿子陈中维负责制作。
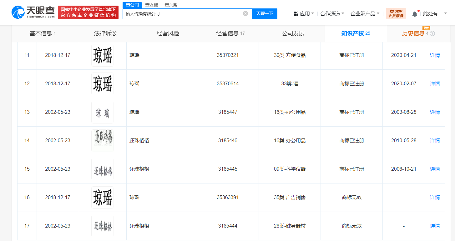
天眼查App显示,怡人传播有限公司成立于1985年10月,负责人为何琇琼,资本总额1000万新台币。知识产权信息显示,该公司已注册多枚“琼瑶”“还珠格格”商标,国际分类涉及餐饮住宿、网站服务等。


本文转载自天眼查,转载目的在于传递更多信息,并不代表本站赞同其观点和对其真实性负责。如涉及作品内容、版权和其它问题,请联系天眼查通知我方删除,我方将在收到通知后第一时间删除内容!本文只提供参考并不构成任何投资及应用建议。本站拥有对此声明的最终解释权。
免责声明:本文为转载,非本网原创内容,不代表本网观点。其原创性以及文中陈述文字和内容未经本站证实,对本文以及其中全部或者部分内容、文字的真实性、完整性、及时性本站不作任何保证或承诺,请读者仅作参考,并请自行核实相关内容。
如有疑问请发送邮件至:goldenhorseconnect@gmail.com